EIDOS 自动撸空投(不需要开电脑与手机版)

什么是EIDOS

我感觉就是让大家疯狂干EOS主网,谁干的猛,谁拿的钱就多。。。

下面是老陆写的介绍,EIDOS 自动撸空投详解

官网:http://eidos.one

官方推特:https://twitter.com/EnuMivo

早前消息是说啊,EIDOS 快来到EOS上发空投了,UBI理念的ENU已经死了。

简要回顾一下ENU,一次空投4000多个,一个最多涨到0.5元,批量撸ENU赚几十万的不在少数。

本着宁可做过不可错过的精神,现在开始教大家怎么撸EIDOS。

首先我们先了解空投的规则,用户可以将任意金额的 EOS 转账至 eidosonecoin 这个账户,智能合约会将等量的 EOS 返回至用户账户,并会将 eidosonecoin 这个账户中存有的 0.01% EIDOS 发送到用户账户中。

按照 EIDOS 的规则,每一秒内,会有 25 个 EIDOS 产生,其中 20 个 EIDOS 用于空投给用户,剩余 5 个将发送到团队的账户。空投将持续 15 个月,最终,将有 10 亿 EIDOS 生成,其中 8 亿用于空投。

简单来说就是不停给 eidosonecoin 这个账号转账,每次转账消耗 CPU 资源来获取账号内万分之一的 EIDOS 。

合约挖矿

正常的操作应该是我写一个脚本,每隔1秒疯狂向eidosonecoin发0.0001 EOS,但是这样比较麻烦的是 你需要有一台电脑一直开机

然后我就写了一个合约…

你只要部署这个合约,设置好参数,充值好CPU,NET后,就可以不用管了…

原理很简单,就是疯狂延时交易而已…

代码在:https://app.eosstudio.io/jin10086/fuckenu

先决条件

  1. 需要先买200kb的内存 (后面不想跑了可以卖掉
  2. 需要电脑装了scatter
  3. 需要给自己部署合约的这个账号加eosio.code权限

部署合约

按照下面图片1,2,3的顺序 部署合约

  1. 登录scatter
  2. build 合约
  3. 部署合约

执行合约

  1. 切成你部署好的合约
  2. 先执行init 方法
  3. 再执行run方法 就一直跑了

执行完应该如下图

停止合约

执行 stop方法就行了

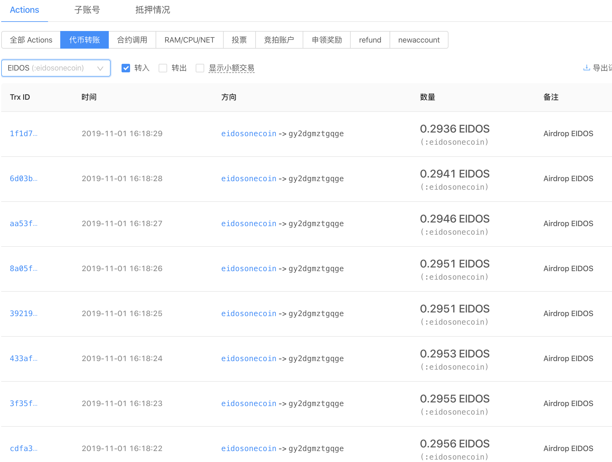
最后放一张我撸的截图 1s一次


本文作者:高金
本文地址https://igaojin.me/2019/11/01/EIDOS-自动撸空投-不需要开电脑与手机版/
版权声明:转载请注明出处!

推荐文章